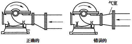
1. 变径应采用偏心异径管,并应管顶平接


15s909—P37



2. 吸水管连接,避免形成气囊

15s909—P37


消防给水及消火栓系统技术规范
GB50974-2014
5.1.13 离心式消防水泵吸水管、出水管和阀门等,应符合下列规定:
2 消防水泵吸水管布置应避免形成气囊
12.3.2 消防水泵的安装应符合下列要求:
7 吸水管水平管段上不应有气囊和漏气现象。变径连接时,应采用偏心异径管件并应采用管顶平接。
1. 变径应采用偏心异径管,并应管顶平接


15s909—P37



2. 吸水管连接,避免形成气囊

15s909—P37


消防给水及消火栓系统技术规范
GB50974-2014
5.1.13 离心式消防水泵吸水管、出水管和阀门等,应符合下列规定:
2 消防水泵吸水管布置应避免形成气囊
12.3.2 消防水泵的安装应符合下列要求:
7 吸水管水平管段上不应有气囊和漏气现象。变径连接时,应采用偏心异径管件并应采用管顶平接。